Tel:021-54082321 Fax:021-54106143
 进口阀门闸阀球阀截止阀调节阀蝶阀止回阀减压阀疏水阀旋塞阀柱塞阀呼吸阀平衡阀针型阀阻火器排气阀排泥阀放料阀底阀水力控制阀门隔膜阀过滤器管夹阀安全阀电磁阀 |刀型闸阀 |
产品分类
 
 
 业务联系
 人才招聘
 客服电话
 在线联系
   首页 - 产品展厅 - 产品介绍  
  产品名称: 折流式T型过滤器
  产品型号: TG
  询问折流式T型过滤器价格
 
  咨询电话:021-54082321 黄先生13045666422
 相关产品
 直通T型过滤器
 对焊连接直流式T型过滤器
 异径T型过滤器、异径法兰过滤器
 折流式T型过滤器
 
    T型过滤器是除去液体中少量固体颗粒的小型设备,可保护设备的正常工作,当流体进入置有一定规格滤网的滤筒后,其杂质被阻挡,而清洁的滤液则由过滤器出口排出,当需要清洗时,只要将可拆卸的滤筒取出,处理后重新装入即可,因此,使用维护极为方便。
 
折流式T型过滤器
 
壳体材质 碳钢 不锈钢
滤芯材质 不锈钢
工作温度(℃)
-30~380 -80~450
连接形式 法兰连接、对焊连接、螺纹连接
公称压力(MPa) 0.6~5.0(150Lb~600Lb)
过滤精度(目/in) 10~300

       

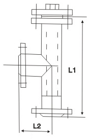
  图一                                     

T型直角法兰连接过滤器

(ST-I)见表一、图一,DN80-400,PN≤5.0

公称通径 DN

结构尺寸

管塞

L

L

80

300

150

R1/2

100

360

160

R1/2

150

440

200

R3/4

200

540

230

R3/4

250

600

270

M20×1.5

300

680

300

M20×1.5

350

750

340

M20×1.5

400

850

380

M20×1.5

订货需知:1 :定货时请注明产品尺寸,操作压力,滤芯材质,过滤介质及过滤精度.
     2 :当需要其他标准法兰,材质及操作压力时请在定货时注明
友情连接: 正封阀门
瑞克阀门
地址:上海闵行区莘松路958弄大浪湾道21号703 邮编:200232 电话:021-54082321 传真:021-54106143
Copyright 上海沪申阀门有限公司 all Rights Reserved.